內徑百分表定位護橋偏位的修理方法
定位護橋偏位的主要原因是:
(1)制造誤差;
(2)非正常性損壞,如受到摔碰、擠壓等或者因修理方法不當。使定位護橋變形;
(3)導向機構變形或配合間隙過大等。以上故故障可根據定位護橋構造的不同采用調整法、修磨法和整形矯正法進行修理。
圖3—3、3—8和3—10所示定位護橋的偏位,除制造方面的原因外,主要是導向桿彎曲、橋板移位和變形造成的。圖3—31a是導向桿彎曲變形造成橋板傾斜的情況。彎曲嚴重時也會影響定位護橋移動的靈活性。遇有這種情況可在鐵砧上矯直導向桿,誤差即可消除。修理中應注意兩導向桿的平行性,以及導向桿與橋板鉚接的牢固性。




圖3-31b是導向套筒與橋板連接移位的情況,檢查橋板移位的方法如圖3-32所示。將定位護橋的導向套筒安裝的心軸3上,在偏擺檢查儀上用百分表1檢查橋板端面的跳動量,從而測出橋板的位移量。

橋板移位,可按圖3-33所示方法,將導向套筒4豎放在鐵砧5上,用榔頭和空心沖頭1沖擊壓環2,矯正橋板的位置。

圖3-31c是定位護橋橋板變形情況,可用刀形樣板直尺在橋板背面檢查變形部位。修理時將橋板放在平板上用紫銅榔頭矯平。
圖3—3、3—8和3—10所示的定位護橋,如按上述方法修理后,偏位故障仍不能消除,則可能是橋板兩臂不等長造成的。這時可在工具磨床或外圓磨床上用成形砂輪修復。修理前在環規上檢查出橋板的偏位方向和偏位量,然后拆下橋板,安裝在圖3—34所示心鈾5上,用螺帽4稍微旋緊。心軸裝夾在外圓磨床的夾頭上以后,用百分表1測量橋板兩圓弧面的相對高度,并用紫銅榔頭調整橋扳的位置,使在兩圓弧面上測得的讀數之差答于橋板的偏位量。最后擰緊螺帽4,用成形砂輪磨削橋板的圓弧工作面。其光潔度不應低于▽12。

圖3—9所示定位護橋的定位誤差主要是兩鋼球的高度不等造成的,可用調整球形工作端位置的方法修復(圖3—35)。調整前通過下述方法找出兩鋼球相對位置的高低:在環規內p向推動定位護橋時(圖3—29),若百分表指針逆時針轉動并有轉折點,則說明左側鋼球位置偏低;反之,說明右側鋼球位置偏低。這時可用墊高鋼球的方法進行調整。若左側鋼球偏低,則旋下壓帽2,在鋼球1的下面墊一墊片4。墊片的厚度通過試驗確定,一般可選用0.1一0.2毫米厚的鋼片沖制成圓形,以供修理中選用。


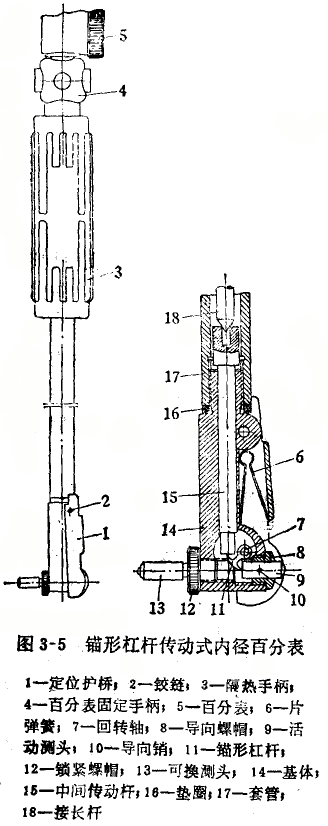
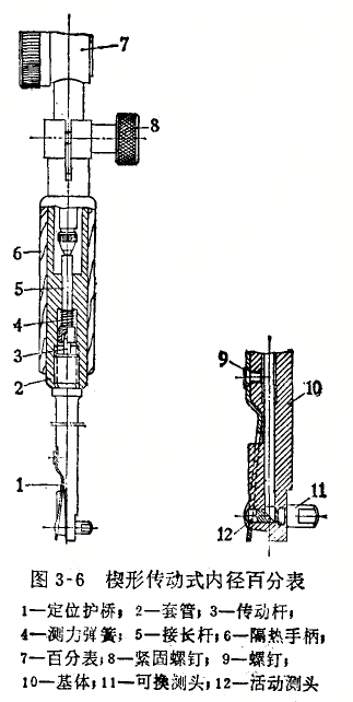
圖3—5、3—6、3—12和3—13所示的定位護橋,是用鋼板沖制而成,受到摔碰、擠壓或因修理方法不當,都會使護橋變形而造成定位誤差.這種情況一股可用整形的方法修復。修理方法如圖3—36所示,在環規內P向推動護橋時,若指針逆附針轉動,并有轉折點,可用手鉗將左側橋板按圖示力向矯正;反之則矯正右側橋板。矯正時只將兩片橋板向外側板正,以防止橋板與基體摩擦,造成定位護橋移動不靈活或卡住現象。




內徑百分表定位護橋偏位的修理方法由思誠資源網整理編輯,你還可以了解杠桿百分表價格






















































































































































