杠桿百分表測桿扭力的修理
測桿的扭力主要取決于測桿與樞軸配合面之間的摩擦力和平彈簧片的壓力。長期使用后的杠桿百分表,由于配合部位的磨損產生配合同隙,摩擦力減小,使扭力也減小。修理方法依其結構的不同而異。
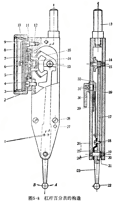
圖5—8所示的杠桿百分表,測桿上的配合孔制成開口孔,依靠孔的彈性抱緊樞軸。當扭力減小后,可將測桿拆下,用手鉗按圖5—45所示方法將孔夾小即可修復。為了控制縮孔量,防止將孔修的過小,可選擇一段直徑略小于樞軸的鋼絲穿入孔中,再用手鉗夾。這種修理方法不能多次采用,否則配合孔將變成長圓孔,影響測桿與樞軸配合的穩定性。這時應配換新測桿。


平彈簧片的形狀不正確.彈性不足或失去彈性,則不能給測桿以足夠的壓力,也將減小測桿的扭力。平彈簧片的形狀不正確,可矯正彈簧片形狀。彈性不足或失去彈性,可用彈簧鋼片或者磷青銅片按原彈簧的形狀和尺寸重配新簧片。
對于圖5—21所示結構,測桿扭力減小的主要原因是嚙合齒磨損和平彈簧片的彈性不足。一般說來,嚙合齒磨損是較慢的,如果由此而減小了測桿的扭力,可用增加彈簧片壓力的方法補償。























































































































































