(1)L/D=10~20,屬于一般深孔。常在鉆床或車床上用接長麻花鉆加工。
(2)L/D=20~30,屬于中等深孔。常在車床上加工。
(3)L/D=30~100,屬于特殊深孔。必須使用深孔鉆在深孔鉆床或專用設備上加工。
(2)切削熱不易傳出。
(3)排屑較困難,如遇切屑阻塞則會引起鉆頭損壞。
(4)因鉆桿長、剛性差、易振動,會導致孔軸線易偏斜,影響到加工精度及生產效率。


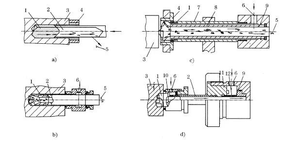
a)外排屑深孔鉆(槍鉆) b)BTA內排屑深孔鉆 c)噴吸鉆 d)DF內排屑系統深孔鉆
1-鉆頭 2-鉆桿 3-工件 4-導套 5-切屑 6-進油口 7-外管 8-內管 9-噴嘴 10-引導裝置 11-鉆桿座 12-密封套
(2)深孔加工切削液:深孔加工過程中會產生大量的切削熱,并不易擴散,需要供給充足的切削液潤滑冷卻刀具。一般選用1:100的乳化液或極壓乳化液,需要較高加工精度和表面質量或加工韌性材料時,選用極壓乳化液或高濃度極壓乳化液,切削油的運動黏度通常選用(40℃)10~20cm2/s,切削液流速為15~18m/s;加工直徑較小時選用黏度低的切削油;要求精度高的深孔加工,可選用切削油配比為40%極壓硫化油+40%煤油+20%氯化石蠟。切削液的壓力和流量與孔徑及加工方式有著密切的關系,具體參考如表5-5所示。

























































































































































