可將所有EROWA ITS 50電極夾頭與3R系統Macro適配
EROWA夾具ER-028670 3R轉接卡盤ER-028670 3R Macro / EROWA ITS 50轉接卡盤

技術參數
尺 寸:54x54x40.5
平行度:<0.004mm
分 度:4x90°
應用● 可將所有EROWA ITS 50電極夾頭與3R系統Macro適配
● 電極制造EDM及車銑方面都可應用

產品包裝清單
1 x 3R Macro / EROWAITS 50轉接卡盤
1 x 鎖緊螺栓M10x25

部件描述A) 基準點
B) ITS支撐腳接觸面
C) ITS定位齒
D) Macro定位齒
技術參數使用附帶的鎖緊螺栓(G)從轉
接卡盤(F)的中央連接EROWA
TS 50電極夾頭(E)
系統轉接1-清潔接觸面
2-對準基準點(A)將轉接卡盤(F)
放于EROWA ITS 50電極夾頭(E)上
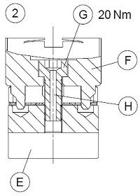
技術參數從轉接卡盤(F)中央插入鎖緊螺釘(G)
至EROWA ITS 50電極夾頭(E)。
以20Nm力鎖緊螺栓(G)。
鎖緊螺栓用螺孔(G)也做為沖洗孔(H)用。
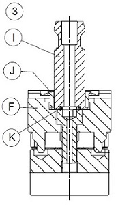
技術參數安裝3R Macro拉釘(I)(不附帶)于轉接卡盤(F)上
注意:固定3R夾緊拉釘(I) Macro保護環(J)
及O型圈(K)并不隨附于轉接卡盤(F)中

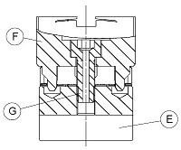
技術參數1-將已與EROWA ITS 50電極夾頭固定的
轉接卡盤(F)與3RMacro相連
2-注意:您可在相關3R Macro卡盤操作手
冊中找到如何操作3RMacro卡盤的說明

維護保護ITS定位齒(C)及Macro定位齒(D),防止敲擊受損
使用完畢后清潔并防止腐蝕
備件028583-M10x25鎖緊螺栓